Najbardziej absurdalne patenty Apple'a

Apple jest znany z dużego apetytu na zastrzeganie przedmiotów, usług i rzeczy z których korzystamy każdego dnia. Ta najbogatsza na świecie firma technologiczna zazdrośnie strzeże swoich dokonań, a często także nie swoich. To tylko Apple mógł wpaść na pomysł opatentowania papierowej torby albo sposobu, w jaki przewracamy kartki na wyświetlaczu smartfonu lub tabletu... Ale to dopiero początek. Oto najbardziej absurdalne patenty Apple'a.

Obraz

/ 6Kto bogatemu zabroni?

Obraz

Apple jest znany z dużego apetytu na zastrzeganie przedmiotów, usług i rzeczy, z których korzystamy każdego dnia. Ta najbogatsza na świecie firma technologiczna zazdrośnie strzeże swoich dokonań, a często także nie swoich. To tylko Apple mógł wpaść na pomysł opatentowania papierowej torby albo sposobu, w jaki przewracamy kartki na wyświetlaczu smartfonu lub tabletu... Ale to dopiero początek. Oto najbardziej absurdalne patenty Apple'a.

/ 6Prostokąt z zaokrąglonymi rogami

Obraz

Być może zetknęliście się w życiu już kilka razy z prostokątem z zaokrąglonymi rogami. Być może nawet w trakcie czytania tego tekstu, jeden z takich prostokątów leży gdzieś koło was na biurku.

Jeśli tak, to wiedzcie, że Apple ma na to patent. A dokładniej - patent o numerze D670,286. Wyłączność na urządzenie o takim kształcie została im przyznana przez Amerykański Urząd Patentowy w 2012 roku.

Jak na razie Apple nie użył dokumentu w żadnej wojnie z innymi producentami, ale kto wie, kto wie. Być może czeka na odpowiedni moment.

/ 6Zakrzywiony ekran

Obraz
fot. MyVoucherCodes

Jak dobrze pamiętacie, Apple nie wyprodukował jeszcze żadnego urządzenia z zakrzywionym ekranem. Ale nie zaszkodziopatentować takie rozwiązanie&OS=ccl/427/162+and+isd/12/10/2013&RS=(CCL/427/162+AND+ISD/20131210) ), prawda?

Do tej pory to Samsung i LG wypuściły na rynek urządzenia z zakrzywionymi ekranami. Apple nie wystąpił przeciwko nim na drogę sądową - na razie - ale wszystko może zmienić się w przyszłości.

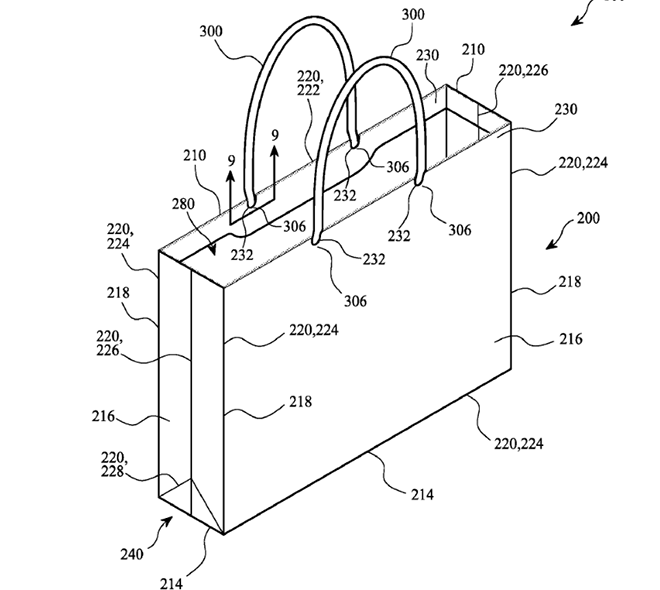
/ 6Papierowa torba

Obraz

We wniosku, opisując tło złożenia patentu, Apple odważnie zauważa, że torby są często używane do przechowywania przedmiotów - na przykład tych zakupionych w sklepie. Sposób działania torby korporacja natomiast określa jako "możliwość przechodzenia ze spłaszczonej pozycji do rozszerzonej pozycji i odwrotnie".

Uchwyty produktu będą przechodzić przez wycięcie i mogą zostać zamocowane do pojemnika workowego. Wniosek zawiera także informacje o kołnierzu wokół otworu, który ma zostać utworzony z części zagiętego papierowego pojemnika workowego. Jeśli chodzi o dno torby, dowiadujemy się, że "może mieć ono kształt prostokąta, aby odpowiadać kształtowi części dolnego panelu".

/ 6Inteligentna okładka

Obraz

Być może część z was nawet już korzysta z takiej okładki. Chodzi o akcesorium do smartfonów, na którym wyświetlane są powiadomienia.

Takie etui jest już w powszechnym użyciu, można je dokupić do smartfonów między innymi Alcatela, HTC, LG lub Samsunga. Czasami są to zintegrowane z pokrywką diody LED, czasem otwory, przez które widać podstawowe informacje wyświetlane na głównym wyświetlaczu. Producentom, którzy już stosują takie rozwiązanie nie przyszło jednak do głowy, żeby patentować take rozwiązanie. Przyszło za to Apple'owi.

/ 6Przewracanie kartek

Obraz

Po tych wszystkich przykładach nie powinno was już dziwić, że Apple opatentował przewracanie kartek. A dokładniej - opatentował animację symulującą przewracanie kartek na urządzeniach elektronicznych.

Patent ten został przyznany Apple'owi w 2012 roku i zwróćcie uwagę, że przewracanie stron wygląda obecnie inaczej na urządzeniach z Androidem, a inaczej na urządzeniach z iOS-em.

js

Wybrane dla Ciebie
Problemy rosyjskiej floty podwodnej. Od "kulejącego okrętu" do "pływającej Hiroszimy"
Problemy rosyjskiej floty podwodnej. Od "kulejącego okrętu" do "pływającej Hiroszimy"
Tajemnica posągów z Wyspy Wielkanocnej rozwiązana. Są nowe badania
Tajemnica posągów z Wyspy Wielkanocnej rozwiązana. Są nowe badania
Błędnie zdiagnozowała raka. AI myli się w 7 na 10 przypadków
Błędnie zdiagnozowała raka. AI myli się w 7 na 10 przypadków
Widowiskowy pokaz świateł z dalekiej północy. Zorza polarna znów nad Polską
Widowiskowy pokaz świateł z dalekiej północy. Zorza polarna znów nad Polską
Odkryli egipską twierdzę sprzed 3,5 tys. lat. W środku piece i ciasto
Odkryli egipską twierdzę sprzed 3,5 tys. lat. W środku piece i ciasto
Muzyka generowana przez AI zastępuje artystów. Sklepy w Belgii unikają opłat
Muzyka generowana przez AI zastępuje artystów. Sklepy w Belgii unikają opłat
Muchomory modne na Instagramie? Toksykolog: eksperymenty mogą zabić
Muchomory modne na Instagramie? Toksykolog: eksperymenty mogą zabić
Sekret rosyjskiego Su-57 poznany. Oto co pomieści w swoim wnętrzu
Sekret rosyjskiego Su-57 poznany. Oto co pomieści w swoim wnętrzu
Fascynujące odkrycie na Tytanie. To prawdziwe wyzwanie dla chemików
Fascynujące odkrycie na Tytanie. To prawdziwe wyzwanie dla chemików
Pocisk manewrujący Ragnarök pokazany. To długie ramię dla "Walkirii"
Pocisk manewrujący Ragnarök pokazany. To długie ramię dla "Walkirii"
Już kupowali z Zachodu. Nagle zwrot akcji. Wybrali myśliwiec z Chin
Już kupowali z Zachodu. Nagle zwrot akcji. Wybrali myśliwiec z Chin
Są starsze niż piramidy w Gizie. Natura stworzyła je w Alpach
Są starsze niż piramidy w Gizie. Natura stworzyła je w Alpach