WAŻNE
TERAZ

Szkocja pokonała Danię 4:2. Fatalny wynik dla Polski

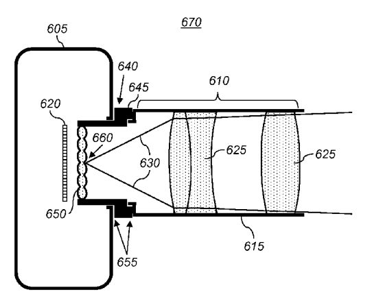
Apple patentuje aparat ze zmianą ostrości po wykonaniu zdjęcia

Firma z Cupertino właśnie otrzymała patent na technologię na aparat cyfrowy z możliwością zmiany ostrości po wykonaniu zdjęcia.

Obraz
Źródło zdjęć: © chip.pl
Obraz
© (fot. chip.pl)

Przyznany przez amerykański Urząd Patentowy dokument o numerze 8,593,56. mówi konkretnie o "aparacie cyfrowym wraz z trybem fotografowania ze zmianą ostrości". Technologia taka pozwala użytkownikowi ustawić ostrość dopiero po wykonaniu zdjęcia. Chociaż tytuł patentu mógłby wskazywać, że Apple planuje wejść na rynek aparatów cyfrowych, to już sama treść dokumentu wyraźnie wskazuje, że technologia będzie użyta w iPhone'ach i iPadach.

Technologią tą mocno zainteresowany był już Steve Jobs, który nawet odwiedzał w domu założyciela Lytro - pioniera w tzw. refokusowaniu - na prywatne pokazy jeszcze zanim technologia ta trafiła na rynek.

Co ciekawe aplikacja Lytro jest dostępna w App Store, a nie tak dawno Nokia udostępniła podobną funkcję dla swoich smartfonów Lumia z technologią PureView.

Apple jednak ubiegało się o przyznanie patentu od 201. roku.

Wybrane dla Ciebie
Cygnus X-1 jak nigdy dotąd. Fenomenalne dane z nietypowego teleskopu
Cygnus X-1 jak nigdy dotąd. Fenomenalne dane z nietypowego teleskopu
Blue Origin zwiększa tempo. Kolejny lot New Glenna może być wyjątkowo ważny
Blue Origin zwiększa tempo. Kolejny lot New Glenna może być wyjątkowo ważny
ATACMS-y powróciły na front. Ukraińcy zaatakowali nimi cele w Rosji
ATACMS-y powróciły na front. Ukraińcy zaatakowali nimi cele w Rosji
Symulacja 100 mld gwiazd Drogi Mlecznej. Dzięki AI i superkomputerom
Symulacja 100 mld gwiazd Drogi Mlecznej. Dzięki AI i superkomputerom
Perseverance wypatrzył na Marsie skałę. Ona nie pochodzi z Marsa
Perseverance wypatrzył na Marsie skałę. Ona nie pochodzi z Marsa
Starship nie poleci na Księżyc w 2027 roku. Artemis 3 musi poczekać
Starship nie poleci na Księżyc w 2027 roku. Artemis 3 musi poczekać
Antydronowe rakiety z Estonii. PGZ chce ich współprodukować 10 tys. rocznie
Antydronowe rakiety z Estonii. PGZ chce ich współprodukować 10 tys. rocznie
Transport francuskiego uranu do Rosji. Współpraca pomimo ataku na Ukrainę
Transport francuskiego uranu do Rosji. Współpraca pomimo ataku na Ukrainę
Deepfake na koncercie Maty. Wszyscy wyglądali tak samo
Deepfake na koncercie Maty. Wszyscy wyglądali tak samo
Trump uśmiecha się do Saudów. Liczy na sprzedaż potężnej machiny
Trump uśmiecha się do Saudów. Liczy na sprzedaż potężnej machiny
NASA zapowiada konferencję. Pokaże nowe zdjęcia komety 3I/ATLAS
NASA zapowiada konferencję. Pokaże nowe zdjęcia komety 3I/ATLAS
"Zabójca dronów". Dotrze do Ukrainy jeszcze w listopadzie
"Zabójca dronów". Dotrze do Ukrainy jeszcze w listopadzie