Nokia chce opatentować samoładujący się akumulator dla komórek

Fiński koncern Nokia złożył w amerykańskim urzędzie patentowym wniosek o ochronę technologii bazującej na koncepcji zbierania energii (energy harvesting), w przypadku której akumulator telefonu komórkowego lub innego urządzenia przenośnego ładuje się podczas wykonywania ruchów przez użytkownika (przykładowo, przetwarza na napięcie energię mechaniczną wstrząsów powstających podczas chodzenia). Wniosek patentowy wpłynął 25 lutego – poinformował właśnie magazyn "New Scientist".

Obraz
Źródło zdjęć: © Nokia

Fiński koncern Nokia złożył w amerykańskim urzędzie patentowym wniosek o ochronę technologii bazującej na koncepcji zbierania energii (energy harvesting)
, w przypadku której akumulator telefonu komórkowego lub innego urządzenia przenośnego ładuje się podczas wykonywania ruchów przez użytkownika (przykładowo, przetwarza na napięcie energię mechaniczną wstrząsów powstających podczas chodzenia). Wniosek patentowy wpłynął 25 lutego – poinformował właśnie magazyn "New Scientist".

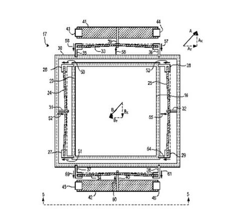
Pomysł polega na umieszczeniu cięższych podzespołów urządzenia ruchomo na specjalnych szynach, do których są przymocowane elementy piezoelektryczne. Energia kinetyczna wytwarzana podczas ruchów w różnych kierunkach oraz obracania telefonu zostaje zamieniona na energię elektryczną i dostarczona do akumulatora.

Obraz
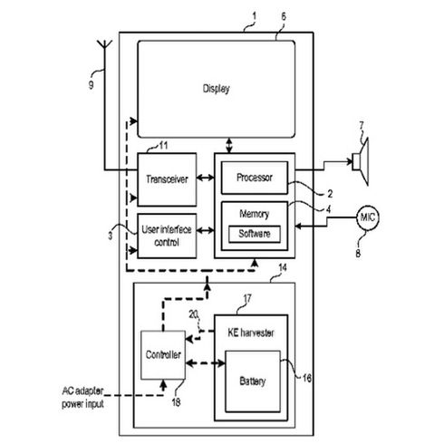
© Ilustracja z wniosku patentowego: moduł Kinetic Energy Harvester oznaczono numerem 1. (fot. Nokia)

Co więcej, nawet sama bateria może służyć za jeden z ruchomych komponentów systemu zasilania. Do zebrania "energetycznego żniwa" wystarczą niewielkie ruchy względne –. czytamy w treści wniosku. Pozwalają one na przynajmniej częściowe naładowanie akumulatora.

Obraz
© Kinetic Energy Harvester: do szyn przymocowane są elementy piezoelektryczne przetwarzające energię kinetyczną na napięcie (fot. Nokia)

Finowie już od jakiegoś czasu zastanawiają się, jak lepiej zaspokajać coraz większy energetyczny głód urządzeń przenośnych. Pracują między innymi nad technologią przetwarzania promieniowania radiowego z otoczenia na energię elektryczną i dostarczania jej do telefonu komórkowego, czyli taką samą metodą zasilania aparatu, jaką stosowano niegdyś w detektorowych odbiornikach radiowych.

Wybrane dla Ciebie
Problemy rosyjskiej floty podwodnej. Od "kulejącego okrętu" do "pływającej Hiroszimy"
Problemy rosyjskiej floty podwodnej. Od "kulejącego okrętu" do "pływającej Hiroszimy"
Tajemnica posągów z Wyspy Wielkanocnej rozwiązana. Są nowe badania
Tajemnica posągów z Wyspy Wielkanocnej rozwiązana. Są nowe badania
Błędnie zdiagnozowała raka. AI myli się w 7 na 10 przypadków
Błędnie zdiagnozowała raka. AI myli się w 7 na 10 przypadków
Widowiskowy pokaz świateł z dalekiej północy. Zorza polarna znów nad Polską
Widowiskowy pokaz świateł z dalekiej północy. Zorza polarna znów nad Polską
Odkryli egipską twierdzę sprzed 3,5 tys. lat. W środku piece i ciasto
Odkryli egipską twierdzę sprzed 3,5 tys. lat. W środku piece i ciasto
Muzyka generowana przez AI zastępuje artystów. Sklepy w Belgii unikają opłat
Muzyka generowana przez AI zastępuje artystów. Sklepy w Belgii unikają opłat
Muchomory modne na Instagramie? Toksykolog: eksperymenty mogą zabić
Muchomory modne na Instagramie? Toksykolog: eksperymenty mogą zabić
Sekret rosyjskiego Su-57 poznany. Oto co pomieści w swoim wnętrzu
Sekret rosyjskiego Su-57 poznany. Oto co pomieści w swoim wnętrzu
Fascynujące odkrycie na Tytanie. To prawdziwe wyzwanie dla chemików
Fascynujące odkrycie na Tytanie. To prawdziwe wyzwanie dla chemików
Pocisk manewrujący Ragnarök pokazany. To długie ramię dla "Walkirii"
Pocisk manewrujący Ragnarök pokazany. To długie ramię dla "Walkirii"
Już kupowali z Zachodu. Nagle zwrot akcji. Wybrali myśliwiec z Chin
Już kupowali z Zachodu. Nagle zwrot akcji. Wybrali myśliwiec z Chin
Są starsze niż piramidy w Gizie. Natura stworzyła je w Alpach
Są starsze niż piramidy w Gizie. Natura stworzyła je w Alpach
ZATRZYMAJ SIĘ NA CHWILĘ… TE ARTYKUŁY WARTO PRZECZYTAĆ 👀