WAŻNE
TERAZ

Kobiety z Bieszczad są przerażone. Słowa Tuska mocno zabolały

Zainspirowali się Ukrainą. Chiny opatentowały Dragon Shield

Chińska firma Dragon Shield Intelligence Equipment opatentowała system ochrony pojazdów opancerzonych przed dronami, wzorowany na ukraińskich rozwiązaniach – informuje serwis Defense Express.

Klatki antydronowe, zdjęcie ilustracyjne Klatki antydronowe, zdjęcie ilustracyjne
Źródło zdjęć: © Getty Images | Sergei Malgavko
Norbert Garbarek

Chińska firma Dragon Shield Intelligence Equipment zarejestrowała patent na system ochrony pojazdów opancerzonych przed atakami dronów. Nowe rozwiązanie, nazwane Dragon Shield, jest inspirowane ukraińską technologią stosowaną na polu walki.

System do ochrony przed dronami

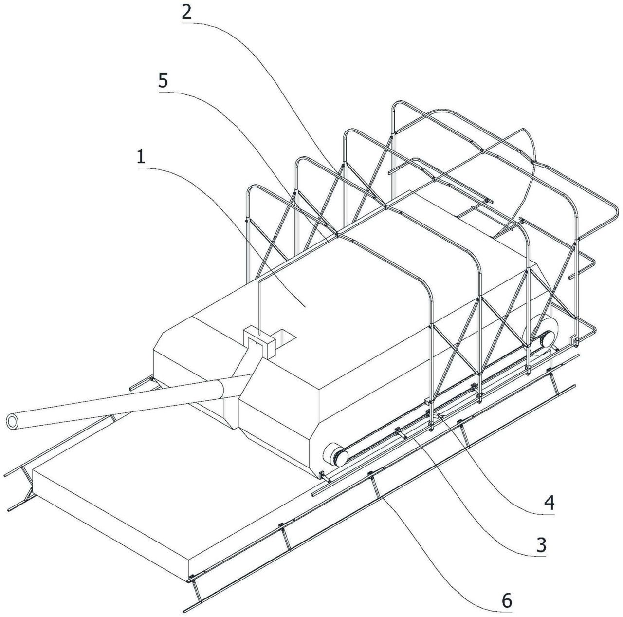
System składa się z elastycznej siatki, która rozkłada się nad wieżą pojazdu, chroniąc ją przed uderzeniami dronów kamikadze i FPV. W stanie spoczynku osłona przylega do kadłuba, nie ograniczając mobilności pojazdu.

Chiński Dragon Shield
Chiński Dragon Shield © Defense Express

W odróżnieniu od ukraińskich wersji, które są proste i obsługiwane ręcznie, chiński Dragon Shield wykorzystuje zautomatyzowany mechanizm szynowy. Pozwala to na rozkładanie osłony z wnętrza pojazdu za pomocą silników elektrycznych.

Zautomatyzowany system może jednak stwarzać zagrożenia. W przypadku uszkodzenia mechanizmu w walce, może on zablokować włazy i utrudnić ewakuację załogi. Ukraińskie rozwiązania są cenione za prostotę i łatwość naprawy na froncie.

Chiński patent pokazuje rosnące uznanie dla ukraińskich innowacji w zakresie ochrony przed dronami. Podobne patenty dotyczące pojazdów bojowych pojawiły się już wcześniej w chińskich rejestrach.

Wybrane dla Ciebie
Tajemnicza dziura między Ziemią i Księżycem. To spore zaskoczenie
Tajemnicza dziura między Ziemią i Księżycem. To spore zaskoczenie
Łazik odkrywa rubiny i szafiry na Marsie? Jest tylko jedno "ale"
Łazik odkrywa rubiny i szafiry na Marsie? Jest tylko jedno "ale"
Meteoryt przebił dach domu w Teksasie. NASA o serii "ognistych kul"
Meteoryt przebił dach domu w Teksasie. NASA o serii "ognistych kul"
Pierwszy w historii transport antymaterii. Przełom naukowy w CERN
Pierwszy w historii transport antymaterii. Przełom naukowy w CERN
Pechowe zakończenie lotu. Boeing zjechał z pasa tuż po lądowaniu
Pechowe zakończenie lotu. Boeing zjechał z pasa tuż po lądowaniu
Atak na porty Rosji. Czy Bałtyk staje się nowym frontem?
Atak na porty Rosji. Czy Bałtyk staje się nowym frontem?
Zniknie 13 mln ton gazu. Globalny rynek odczuje mocny wstrząs
Zniknie 13 mln ton gazu. Globalny rynek odczuje mocny wstrząs
Odcięli ich od F-35. Druga armia NATO kupiła myśliwce gdzie indziej
Odcięli ich od F-35. Druga armia NATO kupiła myśliwce gdzie indziej
Te ptaki rządzą ruchem w Warszawie. Nurogęsi znów powędrują do Wisły
Te ptaki rządzą ruchem w Warszawie. Nurogęsi znów powędrują do Wisły
Statek, który przywiózł nadzieję. Powrót "Sobieskiego" do Polski
Statek, który przywiózł nadzieję. Powrót "Sobieskiego" do Polski
Świat patrzy na Koreę. Nowy myśliwiec KF-21 kontra F-35 w walce o niebo
Świat patrzy na Koreę. Nowy myśliwiec KF-21 kontra F-35 w walce o niebo
Polskie zakupy broni. Dwa kraje odpowiadają za 90 proc. importu
Polskie zakupy broni. Dwa kraje odpowiadają za 90 proc. importu
Wyłączono komentarze
Jako redakcja Wirtualnej Polski doceniamy zaangażowanie naszych czytelników w komentarzach. Jednak niektóre tematy wywołują komentarze wykraczające poza granice kulturalnej dyskusji. Dbając o jej jakość, zdecydowaliśmy się wyłączyć sekcję komentarzy pod tym artykułem.
Redakcja serwisu Tech
ZATRZYMAJ SIĘ NA CHWILĘ… TE ARTYKUŁY WARTO PRZECZYTAĆ 👀