Przerażające kajdanki przyszłości

Wynalazek może razić aresztanta prądem w zależności od jego zachowania

Obraz
Źródło zdjęć: © Thinkstockphotos
Obraz
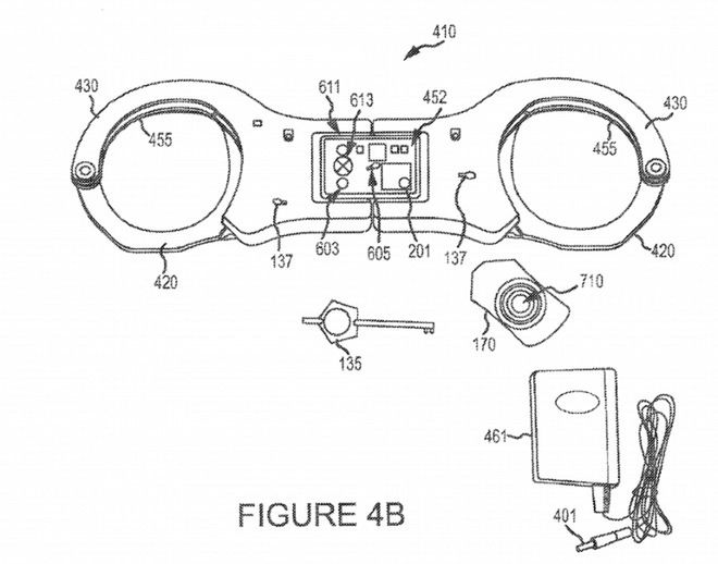
© (fot. Scottsdale Inventions bia gizmag.com)

W obrazie z Rutgerem Hauerem w roli głównej, więźniowie przyszłości nosili obroże, które wybuchały, gdy oddalili się poza wyznaczony obszar. Wynalazek Scottsdale Inventions może nie powoduje zgonu aresztowanego, ale może razić go prądem w zależności od jego zachowania. Projekt kajdanek przyszłości zakłada wyposażenie ich w szereg czujników: akcelerometr, inklinometr, mikrofon, nadajnik gps, czujnik zbliżeniowy, odbiornik radiowy, czujnik biometryczny, kamerę lub dowolną kombinację powyższych.

Na podstawie sygnałów z czujników kajdanki mogą od razu porazić więźnia impulsem elektrycznym - efektem będzie paraliż lub nawet utrata przytomności, jak przy trafieniu tazerem. Możliwe jest jednak stosowanie sygnałów ostrzegawczych w postaci sygnału dźwiękowego, świetlnego lub delikatnego porażenia prądem. Wynalazek może mieć ogromną liczbę zastosowań: może pilnować, by osoba w kajdankach nie oddalała się poza wyznaczony obszar; by nie mogła używać zabronionych przedmiotów (wyposażonych w układy RFID - gdy kajdanki znajdą się za blisko takiego układu, nastąpi porażenie prądem); czy też nie mogli wchodzić tylko na konkretne obszary. Projekt zakłada rozszerzenie pomysłu również na obroże, kaftany bezpieczeństwa, maski i inne elementy ograniczające ruchy aresztantów.

Chodź na razie nikt jeszcze nowego rozwiązania nie stosuje, możemy się spodziewać, że Scottsdale Inventions znajdzie klientów. Zawsze pozostaje jednak obawa przed stosowaniem tego typu środków bezpieczeństwa - rodzą one sporo potencjalnych okazji do nadużyć.

GB

Wybrane dla Ciebie
Używasz takiego mydła? Lepiej z niego zrezygnuj
Używasz takiego mydła? Lepiej z niego zrezygnuj
Znaleźli tajemniczą strukturę. Skrywała się pod starożytnym miastem
Znaleźli tajemniczą strukturę. Skrywała się pod starożytnym miastem
Ujawnili tajne dokumenty. Mówią o dalszej współpracy Rosji i Iranu
Ujawnili tajne dokumenty. Mówią o dalszej współpracy Rosji i Iranu
Czerwone kości żołnierzy z I wojny. Naukowcy poznali powód
Czerwone kości żołnierzy z I wojny. Naukowcy poznali powód
Włączyli go po cichu. "Wśród najpotężniejszych istniejących"
Włączyli go po cichu. "Wśród najpotężniejszych istniejących"
Google Meet zmienia nagrania. Trzeba sprawdzić ustawienia
Google Meet zmienia nagrania. Trzeba sprawdzić ustawienia
Microsoft zakończył aktualizację map. Ogromna baza danych
Microsoft zakończył aktualizację map. Ogromna baza danych
Amerykanie i koniec świata. Mówią, kiedy ich zdaniem nadejdzie
Amerykanie i koniec świata. Mówią, kiedy ich zdaniem nadejdzie
Ukraińcy piszą o Polsce. Zwrócili uwagę na systemy przeciwlotnicze
Ukraińcy piszą o Polsce. Zwrócili uwagę na systemy przeciwlotnicze
Twarz Kris Jenner trenduje w Chinach. Użytkownicy liczą na sukces
Twarz Kris Jenner trenduje w Chinach. Użytkownicy liczą na sukces
Kolejne dwa "Żniwiarze" utracone nad Iranem. To pogrom skalkulowany
Kolejne dwa "Żniwiarze" utracone nad Iranem. To pogrom skalkulowany
Przyziemne problemy kosmicznej wyprawy. Awaria toalety w statku Orion
Przyziemne problemy kosmicznej wyprawy. Awaria toalety w statku Orion
ZATRZYMAJ SIĘ NA CHWILĘ… TE ARTYKUŁY WARTO PRZECZYTAĆ 👀